ดิสก์ที่พิมพ์ได้
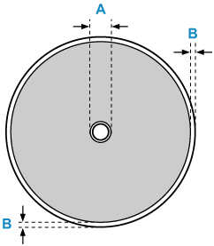
พื้นที่การพิมพ์ของดิสก์ที่พิมพ์ได้คือ 17 mm (0.67 in) จากเส้นผ่าศูนย์กลางภายในถึง 1 mm (0.04 in) จากเส้นผ่าศูนย์กลางภายนอกของพื้นผิวที่ต้องการพิมพ์

พื้นที่ที่พิมพ์ได้
- A: 17.0 mm (0.67 in)
- B: 1.0 mm (0.04 in)

S114
พื้นที่การพิมพ์ของดิสก์ที่พิมพ์ได้คือ 17 mm (0.67 in) จากเส้นผ่าศูนย์กลางภายในถึง 1 mm (0.04 in) จากเส้นผ่าศูนย์กลางภายนอกของพื้นผิวที่ต้องการพิมพ์

พื้นที่ที่พิมพ์ได้